Автор Тема: Октальный Чамп (схема)  (Прочитано 1887 раз)

0 Пользователей и 1 Гость просматривают эту тему.

Jimmy_Page

  • Гость
Октальный Чамп (схема)
« : Марта 23, 2014, 07:19:27 pm »
Всем привет!

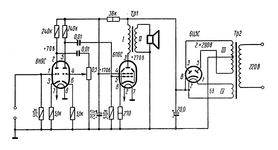
Случайно наткнулся на вот такую интересную схемку. Может кому-то будет интересно.
Правда в комбик ставить 6Н9С из-за микрофонного эффекта не стоит, а вот ввиде миниголовы помоему очень даже интересно.
Ручку тон и ООС имхо выкинуть, а вход переделать под классический.

« Последнее редактирование: Марта 23, 2014, 07:20:58 pm от Jimmy_Page »

Denn

  • Global Moderator
  • *****
  • Сообщений: 14277
  • είμαι ο μουσικός και ο ραδιομηχανίκός
    • ICQ клиент - 322153053
    • Просмотр профиля
    • E-mail
Re: Октальный Чамп (схема)
« Ответ #1 : Марта 24, 2014, 08:55:45 pm »
Схемотехнически тут всё не по-гитарному. Допиливать надо.
Не говорите что мне делать, и я не скажу куда Вам идти.

Лучшее решение из возможных - самое простое. И наоборот.

Прежде чем судить

Gregg

  • Сообщений: 650
  • GTLab - forever!
    • Просмотр профиля
Re: Октальный Чамп (схема)
« Ответ #2 : Марта 24, 2014, 09:42:32 pm »
Вот вам настоящий октальный Чамп:

http://www.tremolo.pl/Firmowe/FENDER/champ-5c1-schem.gif

Kostyan

  • Сообщений: 1442
  • GTLab - forever!
    • Просмотр профиля
    • E-mail
Re: Октальный Чамп (схема)
« Ответ #3 : Марта 25, 2014, 03:23:58 am »
Цитировать
Вот вам настоящий октальный Чамп:

http://www.tremolo.pl/Firmowe/FENDER/champ-5c1-schem.gif

Энтого чампа мы уж давно видали ;)  Джимми захотелось изысков :)
guitargear27/reborn amp https://vk.com/club46514558

George

  • Сообщений: 1583
    • Просмотр профиля
    • E-mail
Re: Октальный Чамп (схема)
« Ответ #4 : Марта 25, 2014, 06:03:23 am »
в данном случае - скорее деградации.  ;D

texman

  • Сообщений: 4058
  • GTLab - forever!
    • Просмотр профиля
    • E-mail
Re: Октальный Чамп (схема)
« Ответ #5 : Марта 25, 2014, 06:31:18 am »
Тогда уж открываем

 http://publ.lib.ru/ARCHIVES/R/REHVIASHVILI_Yuriy_Georgievich/_Rehviashvili_Yu.G..html

...медитируем долго. В книжке есть и просто ламповые конструкции и ламповые батарейные и транзисторные (с трансформаторами ага) и моточные данные :)

Кстати, в некоторые аппараты просто втыкался гитарой - можно играть без всякой переделки, это как история с ВЭФ'ами и спидолами ;)
Ставь старуха самовар, будем слушать MANOWAR!

Denn

  • Global Moderator
  • *****
  • Сообщений: 14277
  • είμαι ο μουσικός και ο ραδιομηχανίκός
    • ICQ клиент - 322153053
    • Просмотр профиля
    • E-mail
Re: Октальный Чамп (схема)
« Ответ #6 : Марта 25, 2014, 07:50:46 am »
Цитировать
Кстати, в некоторые аппараты просто втыкался гитарой - можно играть без всякой переделки, это как история с ВЭФ'ами и спидолами ;)

Разве что "по бедности", и при отсутствии возможности сравнить с нормальным гитарным аппаратом.
В частности, в схеме из заглавного поста катодные резисторы всех каскадов без байпаса ёмкостями, т.е. каскады с местной ООС - что есть не по-гитарному. А также широкополосная эквализация... точнее её отсутствие приближает к "идеалу" под названием "гитара напрямую в микшерный пульт".
Не говорите что мне делать, и я не скажу куда Вам идти.

Лучшее решение из возможных - самое простое. И наоборот.

Прежде чем судить

Jimmy_Page

  • Гость
Re: Октальный Чамп (схема)
« Ответ #7 : Марта 25, 2014, 07:58:47 am »
Denn, ну зачем же впадать в крайности? Неужели (к примеру) СЛО100 или ничего?

Я перещупал достаточно однотактных радио. С правильной предэквализацией (например трэйбл бустер) все до единого, со штатными динамиками звучали супер. Для дивана было просто не отодрать...
« Последнее редактирование: Марта 25, 2014, 08:11:13 am от Jimmy_Page »

Denn

  • Global Moderator
  • *****
  • Сообщений: 14277
  • είμαι ο μουσικός και ο ραδιομηχανίκός
    • ICQ клиент - 322153053
    • Просмотр профиля
    • E-mail
Re: Октальный Чамп (схема)
« Ответ #8 : Марта 25, 2014, 08:04:17 am »
Банку 20 мкф в фильтре анодки после кена надо собрать из двух по 8 мкф, разделённых дросселем или, по-бедности, его резистивным заменителем. Байпас катодников - в обязательном порядке.

Обвязку триодов преампа сделать стандартно: 100к/1,5к||22мкф.

Входная цепь: 1мом об землю, 68к перед сеткой.

Между триодами добавить хотя бы простейший регулятор тона, а лучше полноценный ТБ.
« Последнее редактирование: Марта 25, 2014, 08:07:50 am от Denn »
Не говорите что мне делать, и я не скажу куда Вам идти.

Лучшее решение из возможных - самое простое. И наоборот.

Прежде чем судить

Jimmy_Page

  • Гость
Re: Октальный Чамп (схема)
« Ответ #9 : Марта 25, 2014, 08:10:09 am »
Цитировать
Банку 20 мкф в фильтре анодки после кена надо собрать из двух по 8 мкф, разделённых дросселем или, по-бедности, его резистивным заменителем. Байпас катодников - в обязательном порядке.
Обвязку триодов преампа сделать стандартно: 100к/1,5к||22мкф.

А почему резистор вместо дросселя от бедности? В Вокс АС4 стоит аж 1кОм. Семплы впечатляют. А ещё у 6Ц4С (он же 6Ц4П) достаточно высокое внутреннее сопротивление. Возможно там и так всё пучком.

Jimmy_Page

  • Гость
Re: Октальный Чамп (схема)
« Ответ #10 : Марта 25, 2014, 08:13:56 am »
Куда-то похерился пост с перерисованой схемой... :-/


Denn

  • Global Moderator
  • *****
  • Сообщений: 14277
  • είμαι ο μουσικός και ο ραδιομηχανίκός
    • ICQ клиент - 322153053
    • Просмотр профиля
    • E-mail
Re: Октальный Чамп (схема)
« Ответ #11 : Марта 25, 2014, 08:15:35 am »
У Вокса может и "фишка", а вообще в звукоусилении лучше фильтровать питание дросселем: меньше активное сопротивление (тобишь больше ДД усилка, и отдача по НЧ в частности), лучше (глубже) фильтрация помех.
Не говорите что мне делать, и я не скажу куда Вам идти.

Лучшее решение из возможных - самое простое. И наоборот.

Прежде чем судить

texman

  • Сообщений: 4058
  • GTLab - forever!
    • Просмотр профиля
    • E-mail
Re: Октальный Чамп (схема)
« Ответ #12 : Марта 25, 2014, 09:28:47 am »
@ Denn

Цитировать
Разве что "по бедности"....

Ну, это сейчас - рай на земле, а раньше было не так, зато всяких радиол ламповых было как грязи на всех помойках :)

Меня вот другое всегда интересовало - в старинных схемах (не гитарных) почти всегда в первичке выходника стоит кондерчик, а в гитарниках нет, хотя ИМХО вещь полезная :)
Ставь старуха самовар, будем слушать MANOWAR!

Denn

  • Global Moderator
  • *****
  • Сообщений: 14277
  • είμαι ο μουσικός και ο ραδιομηχανίκός
    • ICQ клиент - 322153053
    • Просмотр профиля
    • E-mail
Re: Октальный Чамп (схема)
« Ответ #13 : Марта 25, 2014, 09:32:54 am »
Цитировать
...в первичке выходника стоит кондерчик, а в гитарниках нет, хотя ИМХО вещь полезная :)

Имхо, полезнее в первичке выходника - высоковольтные диоды в обратном включении об землю ;)
Не говорите что мне делать, и я не скажу куда Вам идти.

Лучшее решение из возможных - самое простое. И наоборот.

Прежде чем судить

texman

  • Сообщений: 4058
  • GTLab - forever!
    • Просмотр профиля
    • E-mail
Re: Октальный Чамп (схема)
« Ответ #14 : Марта 25, 2014, 09:49:32 am »
Я про пентодные SE :)
« Последнее редактирование: Марта 25, 2014, 09:49:44 am от texman »
Ставь старуха самовар, будем слушать MANOWAR!

Denn

  • Global Moderator
  • *****
  • Сообщений: 14277
  • είμαι ο μουσικός και ο ραδιομηχανίκός
    • ICQ клиент - 322153053
    • Просмотр профиля
    • E-mail
Re: Октальный Чамп (схема)
« Ответ #15 : Марта 25, 2014, 09:54:31 am »
Цитировать
Я про пентодные SE :)

А зачем там кондёрчик? Или может всё таки речь про "снаббер"?
Не говорите что мне делать, и я не скажу куда Вам идти.

Лучшее решение из возможных - самое простое. И наоборот.

Прежде чем судить

texman

  • Сообщений: 4058
  • GTLab - forever!
    • Просмотр профиля
    • E-mail
Re: Октальный Чамп (схема)
« Ответ #16 : Марта 25, 2014, 10:18:56 am »
@ Denn

Ну вообще-то да, там в идеале RC цепочка (кондерчик это частный случай). Имеем дополнительную рулежку полосой частот, "нормализуем" работу выходника, не?
Ставь старуха самовар, будем слушать MANOWAR!

Denn

  • Global Moderator
  • *****
  • Сообщений: 14277
  • είμαι ο μουσικός και ο ραδιομηχανίκός
    • ICQ клиент - 322153053
    • Просмотр профиля
    • E-mail
Re: Октальный Чамп (схема)
« Ответ #17 : Марта 25, 2014, 10:31:58 am »
Цитировать
Имеем дополнительную рулежку полосой частот, "нормализуем" работу выходника, не?

Сталкивался с таким "снаббером" в каком-то маленьком "скворечнике" Yerasov. Что с ним, что без него - на слух разницы я тогда не расслышал. Может он там что-то и "гармонизирует" :)
Не говорите что мне делать, и я не скажу куда Вам идти.

Лучшее решение из возможных - самое простое. И наоборот.

Прежде чем судить

sk

  • Гость
Re: Октальный Чамп (схема)
« Ответ #18 : Марта 25, 2014, 10:45:23 am »
Ну,как же?Колебательный контур с первичкой этот конденсатор образует.
Резистор,что последовательно конденсатору,выбирается равным сопротивлению Ra.

Peratron

  • Сообщений: 13579
  • GTLab - forever!
    • Просмотр профиля
    • E-mail
Re: Октальный Чамп (схема)
« Ответ #19 : Марта 25, 2014, 11:03:02 am »
Цитировать
А зачем там кондёрчик? Или может всё таки речь про "снаббер"?
Какой снаббер?!
Это обычное формирование АЧХ...

Схемотехническая мантра: титцешенкохоровицехилл. Повторять до просветления...