Автор Тема: Thermal Breaker  (Прочитано 8759 раз)

0 Пользователей и 1 Гость просматривают эту тему.

patron

  • Гость
Thermal Breaker
« : Декабря 31, 2014, 09:32:23 am »
Раньше некоторые фирмы ставили внутрь силовиков своих гитарных усилителей Thermal Breaker (Thermal Switch), последние годы что-то не вижу их на схемах, а плавкие предохранители не всегда защищают от выгорания силовика. 
Мнения на англоязычных форумах разделяются : одни считают их излишеством нехорошим, другие считают, что пусть лучше силовик горит, но работает, чтоб не прерывать песню, третьи - что вещь весьма полезная, т.к. пожар во время концерта не лучше, чем неожиданное выпадение гитары или баса - не так уж и часто это случается, вероятность весьма низкая. Гораздо чаще звук пропадает из-за всяких кабелей, штекеров и гнёзд.

Bpjkznjh

  • Гость
Re: Thermal Breaker
« Ответ #1 : Декабря 31, 2014, 09:58:57 am »
Встроенный термопредохранитель - хорошая вещь. Позволяет отключить трансформатор даже при неисправностях типа к.з. витка. Обычный предохранитель не почувствует небольшое увеличение тока, и сработает, когда и в самом деле до пожара недалеко.

Peratron

  • Сообщений: 13579
  • GTLab - forever!
    • Просмотр профиля
    • E-mail
Re: Thermal Breaker
« Ответ #2 : Декабря 31, 2014, 10:41:37 am »
К сожалению, в некоторых конструкциях он незаменяемый - потому транс либо на выброс, либо на переборку.

А если заменяемый - то это очень хорошо. Особенно в мелкокалиберных трансах...
Схемотехническая мантра: титцешенкохоровицехилл. Повторять до просветления...

DDD

  • Сообщений: 10347
  • Имею личный текст
    • Просмотр профиля
    • E-mail
Re: Thermal Breaker
« Ответ #3 : Декабря 31, 2014, 11:22:32 am »
А thermal breaker и thermal fuse не разные ли вещи?
Готов подписаться под каждым своим словом

Peratron

  • Сообщений: 13579
  • GTLab - forever!
    • Просмотр профиля
    • E-mail
Re: Thermal Breaker
« Ответ #4 : Декабря 31, 2014, 11:35:59 am »
Цитировать
А thermal breaker и thermal fuse не разные ли вещи?

Верно подмечено  ;)
Схемотехническая мантра: титцешенкохоровицехилл. Повторять до просветления...

Jinx

  • Сообщений: 4123
    • Просмотр профиля
    • E-mail
Re: Thermal Breaker
« Ответ #5 : Декабря 31, 2014, 12:01:32 pm »
У нас вот один раз в гараже в розетке появилось напряжение 380В и перестал работать БП от пульта. Расследование выявило, что бод изоляцию верхней обмотки был вмотан одноразовый девайс. Весьма неудобно было сделано.
Если хочешь, чтобы что-то было сделано хорошо - сделай сам.
R2DNY

patron

  • Гость
Re: Thermal Breaker
« Ответ #6 : Декабря 31, 2014, 12:20:06 pm »
Цитировать
А thermal breaker и thermal fuse не разные ли вещи?
И теперь до посинения будем спорить "о терминологии", особенно нам - спецам в английский языка.
О чём шла речь - ясно из текста. Может лучше по делу ?
По логике  thermal breaker просто на время прерывает сетевое питание - до понижения температуры транса до некоторой приемлемой для дальнейшей работы.

Bpjkznjh

  • Гость
Re: Thermal Breaker
« Ответ #7 : Декабря 31, 2014, 12:41:00 pm »
Цитировать
У нас вот один раз в гараже в розетке появилось напряжение 380В и перестал работать БП от пульта. Расследование выявило, что бод изоляцию верхней обмотки был вмотан одноразовый девайс. Весьма неудобно было сделано.
Вряд ли было бы лучше, чтобы транс раскалился с непредсказуемыми последствиями.

Jinx

  • Сообщений: 4123
    • Просмотр профиля
    • E-mail
Re: Thermal Breaker
« Ответ #8 : Декабря 31, 2014, 02:19:12 pm »
Да, но транс был сделан с запасом, и если бы предохранитель был не одноразовый, то, мне кажется, было бы гораздо удобнее.
Если хочешь, чтобы что-то было сделано хорошо - сделай сам.
R2DNY

Ven

  • Сообщений: 738
  • GTLab - forever!
    • Просмотр профиля
    • E-mail
Re: Thermal Breaker
« Ответ #9 : Декабря 31, 2014, 04:20:12 pm »
сосед как-то обратился за помощью. Микроволновка не работала. Определил неисправный термо-свитчер
само-восстанавливающийся. Нефига почему-то не восстановился.
В трансах: Считаю - нужная вещь, хоть не много и геморно менять. :)

patron

  • Гость
Re: Thermal Breaker
« Ответ #10 : Декабря 31, 2014, 09:21:15 pm »
С Новым Годом всех !

new_man

  • Сообщений: 2053
  • GtLab.Net
    • Просмотр профиля
    • E-mail
Re: Thermal Breaker
« Ответ #11 : Декабря 31, 2014, 09:45:23 pm »
Как-то на радиозаводе, где я работал, произошло витковое замыкание в силовике одного из УМ на участке электропрогона. Транс грелся, грелся, и... Участок выгорел вместе со всем контентом. Хороший довод в пользу термосвитчеров.

patron

  • Гость
Re: Thermal Breaker
« Ответ #12 : Января 01, 2015, 08:32:23 am »
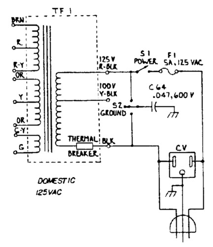
Пример применения.


DDD

  • Сообщений: 10347
  • Имею личный текст
    • Просмотр профиля
    • E-mail
Re: Thermal Breaker
« Ответ #13 : Января 01, 2015, 09:43:38 am »
Сабж ставится в большинство 220-Вольтовых ПРИЛИЧНЫХ удлинителей и, тем самым, резко повышает степень доверия потребителей к этим удлинителям (знаю из первых рук).
Если бы я делал что-нть с сетевым питанием, то непременно бы их заюзал: они из тех вещей, которые сами по себе отказывают крайне редко, и, уж если срабатывают, то наверняка не зря, указывая на необходимость ревизии потрохов аппарата.
*** У нас в лавках есть с десяток сортов, в т.ч. очень симпатичные.


« Последнее редактирование: Января 01, 2015, 09:52:37 am от DDD »
Готов подписаться под каждым своим словом

patron

  • Гость
Re: Thermal Breaker
« Ответ #14 : Января 01, 2015, 09:57:21 am »
Речь шла о Thermal Breaker", встроенных ВНУТРЬ силовиков гитарно-басовых усилителей - как на приведённой схеме. Видел живьём такие силовики в усилителях Music Man - никаких внешних "нашлёпок" на них нет, всё упрятано под кожухом. Разбирать таких трансов не доводилось.
В оригинальных аппаратах трансы были закрыты кожухами, а те трансы, которые сейчас есть в продаже для замены - вообще без кожухов - сачковый вариант :
http://www.tubeampdoctor.com/en/shop_MusicMan.htm
На схемах современных гитарно-басовых дивайсов давненько не видел этих "брейкеров", да и в описалове на силовики известных производителей трансов что-то не упоминается про их наличие "унутре"
« Последнее редактирование: Января 01, 2015, 10:16:48 am от patron »

DDD

  • Сообщений: 10347
  • Имею личный текст
    • Просмотр профиля
    • E-mail
Re: Thermal Breaker
« Ответ #15 : Января 01, 2015, 12:41:02 pm »
Внутрь силовиков обычно встраивалось то, что называется THERMAL FUSE или THERMAL CUT-OFF.
Это штучка размером и формой примерно как советский МЛТ-0.5, бывают и квадратные и прочие.
Их пряут под верхнюю изоляцию первички и при перегреве первички они размыкются за счёт расплавления внутренней перемычки.
Чинить такое несложно, но скучно.
Вот тут их есть:

http://fuse-china.en.alibaba.com/productshowimg/478787907-210577238/Japan_Panasonic_ceramic_thermal_fuse_250V.html
« Последнее редактирование: Января 01, 2015, 12:43:31 pm от DDD »
Готов подписаться под каждым своим словом

patron

  • Гость
Re: Thermal Breaker
« Ответ #16 : Января 01, 2015, 03:46:09 pm »
Цитировать
Внутрь силовиков обычно встраивалось то, что называется THERMAL FUSE или THERMAL CUT-OFF

Значит фирма Music Man - неправильные американцы, у них на схеме транса написано Thermal Breaker. Либо то, что они вставляли в свои силовики - не Thermal Breaker, либо у самих амеров бардак терминологией.
Согласно англо-ВИКИ : ".. A circuit breaker is an automatically operated electrical switch designed to protect an electrical circuit from damage caused by overload or short circuit. Its basic function is to detect a fault condition and interrupt current flow. Unlike a fuse, which operates once and then must be replaced, a circuit breaker can be reset (either manually or automatically) to resume normal operation..."

Правда у-ли Music Man выпускались в 80-х годах и с тех пор терминологию "подкорректировали"

« Последнее редактирование: Января 01, 2015, 04:20:03 pm от patron »

Bpjkznjh

  • Гость
Re: Thermal Breaker
« Ответ #17 : Января 01, 2015, 04:19:32 pm »
Нашли о чём спорить. У амеров с техническими терминами беда по определению.

patron

  • Гость
Re: Thermal Breaker
« Ответ #18 : Января 01, 2015, 04:21:00 pm »
Нету на них ГОСТов  >:(     ;D

Rst7

  • Сообщений: 1619
  • Мимо проходил...
    • Просмотр профиля
    • E-mail
Re: Thermal Breaker
« Ответ #19 : Января 01, 2015, 04:41:58 pm »
Вообще-то стандарты по электробезопасности регламентируют следующую процедуру проверки пожаробезопасности силовых трансформаторов в составе приборов и блоков:

Вторичная обмотка нагружается максимально возможной нагрузкой, чтобы еще не срабатывал плавкий предохранитель в первичной цепи, и измеряется температура трансформатора (стараются зонд запихнуть поглубже в обмотки). Если она не превышает, кажется, 120 градусов (точную цифру запамятовал), то трансформатор считается выдержавшим испытание.

Отдельно проверяется КД на трансформатор, чтобы материалы, из которых изготовлен трансформатор, допускали перегрев до температуры температуры. Понятное дело, что соответствие КД и выпускаемого оборудования проверяется в ходе периодических проверок производства.

Обычно трансформаторы такого испытания не выдерживают, и требуется установка термопредохранителя.

Вот и все.
"Практика выше (теоретического) познания, ибо она имеет не только достоинство всеобщности, но и непосредствен